Насос вакуумный мембранный НИРА НВМ-1.6 380v предназначен для откачки из герметичных объёмов воздуха, неагрессивных к материалам конструкции газов, паров и парогазовых смесей, не содержащих механических загрязнений от атмосферного до предельного остаточного давления.
| Число ступеней | 1 | 
| Производительность вакуумного насоса при атмосферном давлении, м3/ч (л/с): | |
| - При параллельной работе ступеней | 1,6 (0,45) | 
| - При последовательной работе ступеней | - | 
| Предельно остаточное давление, кПа (мм.рт.ст.): | |
| - При параллельной работе ступеней | 6,6(50) | 
| - При последовательной работе ступеней | - | 
| Уровень звука, дБа | 59 | 
| Электропитание, В | 380 | 
| Электродвигатель, кВт | 0,09 (0,12) | 
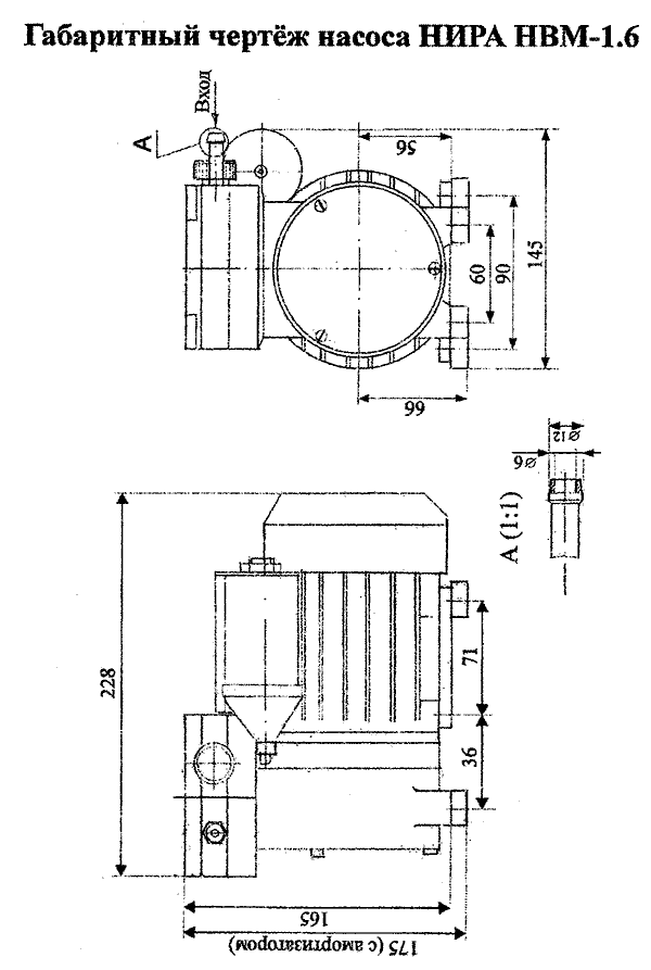
| Габаритные размеры насоса, мм: | |
| - Длина | 230 | 
| - Ширина | 145 | 
| - Высота | 165 | 
| Масса вакуумного насоса, кг | 4 | 

любые вопросы связанные с подбором изделия или расчета его стоимости, оптовых заказов и т.п.
Телефон : +7 (843) 203-92-00
Email : info@nira.ru
Адрес : Россия, Республика Татарстан, Высокогорский район, ж/д_разъезд Куркачи, ул. Тукая 5
© 2023 ООО НПП НИРА - Производство вакуумных насосов и компрессоров | Партнер портала PriceShop.Ru - Оборудование и инструменты
{counters} Скачать паспорт на насос НВМ-1.6(380v) в *.PDF
Скачать паспорт на насос НВМ-1.6(380v) в *.PDF