Насос вакуумный мембранный НИРА НВМ-3.2 предназначен для откачки из герметичных объёмов воздуха, неагрессивных к материалам конструкции газов, паров и парогазовых смесей, не содержащих механических загрязнений от атмосферного до предельного остаточного давления.
Число ступеней | 2 |
Производительность вакуумного насоса при атмосферном давлении, м3/ч (л/с): | |
| - При параллельной работе ступеней | 3,2 |
| - При последовательной работе ступеней | 1,6 |
Предельно остаточное давление, кПа (мм.рт.ст.): | |
| - При параллельной работе ступеней | 6,6(50) |
| - При последовательной работе ступеней | 1,3(10) |
Уровень звука, дБа | 60 |
Электропитание, В | 220 |
Электродвигатель, кВт | 0,12 (0,18) |
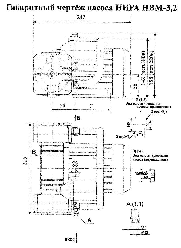
Габаритные размеры насоса, мм: | |
| - Длина | 247 |
| - Ширина | 215 |
| - Высота | 158 |
Масса вакуумного насоса, кг | 5 |

любые вопросы связанные с подбором изделия или расчета его стоимости, оптовых заказов и т.п.
Телефон : +7 (843) 203-92-00
Email : info@nira.ru
Адрес : Россия, Республика Татарстан, Высокогорский район, ж/д_разъезд Куркачи, ул. Тукая 5
© 2023 ООО НПП НИРА - Производство вакуумных насосов и компрессоров | Партнер портала PriceShop.Ru - Оборудование и инструменты
{counters}